作者:易倍emc穆里尼奥官方 时间:2026-02-10 浏览: 来源:emc易倍下载
凡以砂轮作为切削刀具精加工齿轮轮齿所用的机床统称磨齿机,亦称齿轮磨床。磨齿机的工作原理分成形法和展成法两类。
磨齿机主要用于精加工硬齿面齿轮。其多为半自动机床,具备自动分齿、自动修整砂轮、自动补偿砂轮磨损、自动计数及停车等功能。磨削精度可达6~3级(GB10095-88),表面粗糙度为Ra0.63~0.32μm。
用大平面砂轮作为切削刀具的齿轮加工机床。它是利用齿条副啮合原理,按展成法精加工齿轮轮齿的一种磨齿机。大平面砂轮磨齿机主要有两大类:一类采用钢带和滚圆盘形成展成运动。以国产的Y7432型、德国卡尔·胡斯(Carl Hurth)厂的SRS400型、日本T-842型磨齿机为代表。另一类采用渐开线凸轮和挡块形成展成运动。以我国生产的Y7125型、美国纳兴诺-土耳(National Tool)型、苏联5892、5891型等磨齿机为代表。
这类机床的传动链短,结构简单,磨齿精度很高,广泛用于磨削标准精度齿轮及插齿刀、剃齿刀等齿轮刀具,磨齿精度可达3级或更高(JB17983),表面粗糙度为 Ra0.63~0.32μm。
国产Y7432型大平面砂轮磨齿机,该机砂轮架磨削角的调整范围为6°~23°;所用砂轮直径为800mm。可磨削模数m=1~12mm、齿数z=12~120、直径d=50~320mm、螺旋角β=0°~±45°的齿轮。
用锥面砂轮作为刀具的磨齿机床。这种磨齿机的主要特点是:采用钢带滚圆盘展成和精密蜗杆副分度,并通过机械、电气、液压联合动作,实现机床磨削的展成、工件分度、砂轮的转动、砂轮沿齿轮轴向的往复移动;以及螺旋角调整、台面升降、砂轮修整器的修整等运动。该类磨齿机结构简单,制造维修比较方便。磨齿精度可达5级,生产效率高,适用于单件或成批生产。
图9-5所示Y7132型磨齿机为国产典型的锥面砂轮磨齿机,该机使用范围为模数m=l~6mm,齿数z=9~120,螺旋角β=0°~±45°,直径 da=35~320mm,最大齿面宽b=100mm。

用蜗杆砂轮作为刀具磨削齿轮齿面的机床。该机床属于展成法磨齿机。用蜗杆砂轮磨削渐开线齿轮,与用滚刀切削齿轮的加工原理基本相同。蜗杆砂轮通常是单头,砂轮每转一转,工件转过一个齿。在磨斜齿轮时,通过差动装置,使工件得到附加运动,以获得给定的螺旋角。为了使工件的轮齿全长都能磨出来,工件还需要沿其轴线方向进给,机床上有一横向进给机构,控制磨削余量分几次磨完。蜗杆砂轮磨齿是连续分度的,而工件的转速又快,所以生产效率高。适用于大批量生产,磨齿精度可达4级,表面粗糙度为Ra0.63μm。
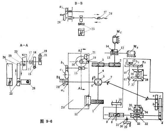
图9-6所示为国产Y7215型磨齿机,适用于磨削精密小模数直齿轮。砂轮的尺寸:外径200mm,宽度25mm,孔径75mm。
加工范围是:模数m=0.125~1.5mm,最少齿数z=12,最大外径da=150mm,最大齿宽b=75mm,模数小于0.3~0.5mm的齿轮,可以不经过滚齿加工,而直接在机床上磨齿。

用砂轮作为磨削刀具,磨削摆线齿轮齿面的机床。它是按照针齿内齿轮(简称针轮)与摆线齿轮啮合原理来磨削工件的。该类磨齿机的结构简单,操作方便,生产率高,精度稳定,适用于磨削各种摆线型摆线磨齿机,其使用范围是:齿轮外径d
成形砂轮磨齿机用成形砂轮作为切削刀具磨削齿轮轮齿的机床。它属于仿型法磨齿机。把砂轮的两侧刃面修成与被磨削齿轮齿槽侧面相吻合的形状,然后用仿型法加工原理磨削出齿轮轮齿。
成形砂轮磨齿机结构简单,磨齿精度比较稳定(可达5级),生产率较高,万能性较大,它几乎是磨削内齿轮的唯一类型的机床。可广泛应用于成批生产,对少齿数齿轮尤为合适,也适用于非渐开线齿廓的齿轮和修缘齿轮的磨削。
弧齿锥齿轮磨齿机属于展成法磨齿机。用于磨削弧齿锥齿轮及准双曲面齿轮齿面。结构与弧齿锥齿轮铣齿机相似。以装有砂轮运动盘代替铣刀盘,并装有砂轮修整器。磨齿精度可达5级,表面粗糙度为R
碟形砂轮磨齿机是采用一对碟形砂轮为刀具的磨齿机床。该机是采用钢带和滚圆盘按展成法原理进行工作的,利用两个砂轮的工作刃面按照展成法原理同时磨削形成轮齿渐开线面。当磨削斜齿轮时,只要增加一个附加运动,即可保证齿轮的螺旋角。这类磨齿机主要特点:加工范围大,万能性较好,加工精度高(可达4级)。适用于单件、成批生产。
a=35~320mm,螺旋角 β=0°~±45°的齿轮。本机床所用砂轮直径为220~170mm,磨削角0°~20°。另外瑞士马格公司(MAAG)生产,SD-32-X型新型磨齿机,用于0°磨削法工作。采用双曲柄万能滚圆盘机构。

蜗杆磨床用于蜗杆齿面磨削加工的专用机床。它配有齿距校正机构。可采用单面磨削法或双面磨削法磨削蜗杆。
内齿轮磨床通过万能砂轮架使砂轮进入内齿轮,对内齿轮轮齿表面进行磨削加工的机床。内齿轮磨床属于仿型法磨齿机。主要用于磨削直齿、斜齿的内齿轮。
中国秦川机床厂制造的Y7550型内齿轮磨齿机,可加工模数m=2~6mm,齿数z=32~170、螺旋角β=0°~±25°,顶圆直径d
电线年北京正基元齿轮有限公司版权所有。本网站由北京正基元齿轮有限公司设计、制作、维护。
本网站上的任何内容,未经正基元公司的书面授权,均不得以任何方式复制、转载、或镜像,否则将追究其违权责任。
上一篇:标志着工程管理与技术水平的新高度 下一篇:今日导读:知名品牌回应被指预制甜甜圈;火锅
二维码
地址:西安市长安区沣东新城斗门镐京
手机:13363990552
电话:0086-29-84357562
邮箱:www.fxtradingcn.com
Copyright © 2025 西安EMC易倍官网机床股份有限公司 版权所有 | 网站地图